全球咨询热线 : 0755-27837162

首页 新闻动态

瑞士微晶晶振推出新型TS-3032-C7数字温度传感器模块TS -3032-C7-TA-QC

2023-07-19 15:50:39 

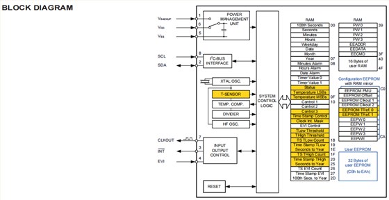
瑞士微晶晶振推出了新的TS-3032-C7,是超低功耗(160nA)数字温度传感器模块,结合具有I C接口的高性能温度补偿实时时钟IC和带时间戳的高温和低温警报,具有±1°C精度12位分辨率(0.0625°C/step)-40°C至105°C操作。

这款温度传感器具有超低功耗的出色性能,允许具有中断功能和时间戳的温度上限和下限,并通过集成32.768 KHz晶体的嵌入式实时时钟电路得到增强。它提供所有标准RTC功能(日期/时间、定时器、警报、外部事件),包括最佳温度补偿时间精度(0.22秒/天漂移),以及带电荷泵的新型涓流充电器。

嵌入式32.768 kHz石英晶体谐振器的工厂校准温度补偿在-40至85°C范围内提供2.5 ppm精度(0至50°C范围内为1.5 ppm相当于0.13秒/天和20 ppm +85至+105°C)。它允许通过低至160的计时电流延长电池寿命工作电压范围较大(1.3 V至5.5 V)。

该器件提供实时温度监控,并以1秒的刷新周期发出警报。有时间戳和可编程密码的外部事件检测中断,提供针对欺诈和黑客攻击的安全解决方案。

以如此低的功耗预算监控您的关键设计——我们的应用保持在安全/预期的工作温度范围内从未如此简单。这涵盖了广泛的紧凑型应用,如计量解决方案、POS、自动化、健康和医疗设备、可穿戴设备等。2

TS-3032-C7数字温度传感器模块特征

性能

温度监控

  • 12位温度传感器:
    • 精度:1°C(典型值)。从-40摄氏度到+85摄氏度
    • 精度:典型值±4°C。从+85℃到+105℃
    • 分辨率:(0.0625摄氏度/步)
    • 自动温度刷新(1赫兹)
    • 高低温警报和时间戳
  • 超低功耗,延长电池寿命:
    • 1.3 V至5.5 V工作电压
    • 测量期间的工作电流为14 A
    • 160 nA待机和计时电流(3 V和25°C)
  • 易于集成、低热质量、小尺寸和低轮廓
    • 3.2毫米x 1.5mm毫米x 0.8mm毫米,8针

计时

  • 工厂校准的温度补偿:
    • -40至+105摄氏度
  • 高时间精度:
    • 1.5 ppm (0至+50摄氏度)
    • 2.5 ppm (-40至+85摄氏度)
    • 20 ppm (+85至+105摄氏度)

动力管理

  • 具有中断功能的自动备份切换
  • 带多功能电荷泵的涓流充电器允许:
    • VBACK ≥ VDD
    • 使用1.75 V TDK CeraCharge
  • 带中断的电源电压下降检测(1.3 V)

篡改检测/欺诈保护

  • 带中断的带时间戳的外部事件输入检测
  • 防止黑客入侵的可编程密码保护
  • 配置EEPROM
  • 带中断的带时间戳和可编程温度窗口检测

标准中断

  • 内部上电复位
  • 周期性倒计时定时器
  • 定期时间更新(秒、分钟)
  • 日期、小时和分钟闹铃

时间和频率函数

  • 第100秒,秒,分钟,小时,日期,月,年和工作日
  • 自动闰年校正
  • 可编程EEPROM老化补偿
  • 外设的可编程时钟输出:
    • 晶体模式:32.768千赫、1024赫兹、64赫兹、1赫兹
    • 高频时钟模式:8192 Hz → 52 MHz,步进为8192 Hz,保证输出信号完整性

存储容量

  • 16字节的用户RAM
  • 32字节用户EEPROM

通信接口

  • 400 kHz集成电路总线接口

可靠性/认证

  • 100%无铅,符合RoHS标准
  • 提供符合AEC-Q200的汽车认证

应用程序

高温度精度和超低功耗使TS-3032-C7非常适合移动/电池供电应用。

  • 精密温度监控
  • RTD替换
  • 物联网(IoT)传感器
  • 低温运输系统
  • 测量
  • 可穿戴设备,便携式设备
  • 卫生保健
  • 产业的
  • 汽车的

1

3

新型TS-3032-C7数字温度传感器模块超小尺寸和紧凑尺寸具有可靠的真空密封金属盖,提供了SMT完全集成的所有优点,易于实现小型和成本敏感的大批量应用。对于Micro Crystal来说,没有什么比用高性能超低功耗组件培养创新精神更重要的了。该产品已经大规模生产,如果您想要购买样品或者其他晶振产品,您可以联系我们:0755-27837162.




返回头部